Do you have any questions?

MB 212/H

Building instruction

Exploded drawing

Assembly

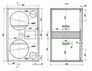
We recommend using good quality plywood or medium density fibreboard (MDF) for the cabinet. If the speaker is to be moved often, we strongly recommend heavy-duty plywood or multilayer board. Recessed handles and reinforcing corners for stacking (available from good music supplies shops) are of great assistance for frequent moves. The drawing shows a 50-mm cut-out in the rear wall for a PT 57 NG terminal block. You will have to adjust the dimensions of this cut-out if you use other connectors, such as XLR's or jacks.

Inner damping

The 5 bags of damping material are distributed in such a way that only the area behind both bass reflex tubes remains free.

Cabinet parts list for 1 box

Parts
Size (mm)
Quantity
Material: 19 mm chipboard or MDF
Front and rear panel
762 x 442
2
Top and bottom panel
480 x 442
2
Brace
100 x 442
2
Brace
100 x 422
1
Side panel
800 x 480
2

Crossover

Do you have any questions?

Contact us