Do you have any questions?

EFFECT 130

Building instruction

Exploded drawing

Assembly

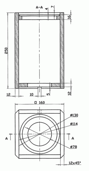
The EFFECT 130 cabinet consists of 6 boards stuck together (butt jointed), making construction a simple matter. However, it is essential to work accurately since the front grille will not fit in the opening if the tolerances are too great. The grille has the following outer dimensions: 136 x 136 mm.
A 10 mm wide slot at the bottom of one side wall is for the cables.

Inner damping

Half a mat of damping material is loosely pushed into the cabinet.

Cabinet parts list for 1 box

Parts
Dimensions (mm)
Quantity
Material: 12 mm chipboard or MDF
Side panels
136 x 250
2
Side panels
160 x 250
2
Bottom panel
136 x 136
1
Material: 16 mm chipboard or MDF
Baffle
136 x 136
1

Do you have any questions?

Contact us